金百博

金百博·(中国区)有限公司官网
金百博·(中国区)有限公司官网

旋转讨论

首页 - 产品展示

金百博·(中国区)有限公司官网

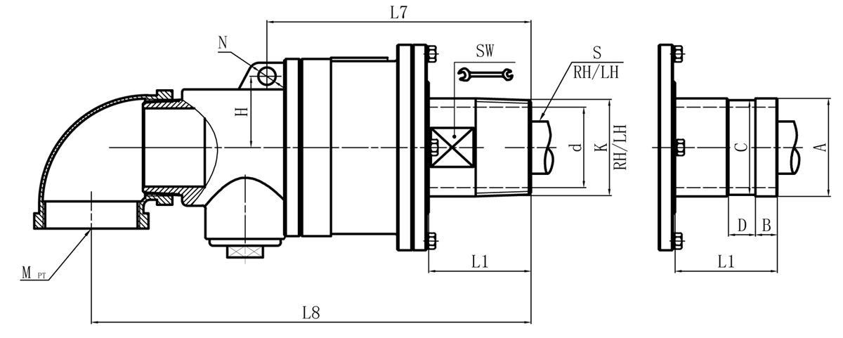
MXB2型 单通路

型号:MXB2
外管:法兰
特征:适用于水、热油介质;;; 平面密封设计;;; 多弹簧设计;;; 弹簧外置平衡式设计;;;碳石墨密封设计;;;平衡式非金属组合摩擦设计或平衡式非金属摩擦副设计;;;铸铁壳体。。。。。

手艺参数:
适用介质 水、热油
最高温度 ≤100℃(水)、≤300℃(热油)
最高压力 ≤1.0MPa
最高转速 80A≤ 500rpm

产品咨询 返回列表

销售效劳热线:

0595-8686 1188

金百博·(中国区)有限公司官网
Model K M I O S S1 D1 L1 L2 L3 L5 L6 L7 L8 N SW H 法兰式外管尺寸比照表
A B C D
80A R3" Rc3" Rc2-1/2" Rc1-1/2" Rp1-1/2" 47 72 94 263 45 357 387 243 405 16 85 66 90 20 887 25

如属规格品外,,本公司可配合要求制作。。。。。
规格尺寸若有修改,,恕不另行通知。。。。。

Copyright ?金百博 版权所有 闽ICP备05026600号 中机标准化研究院 网站建设:科伟网络

【网站地图】【sitemap】